3D viewer
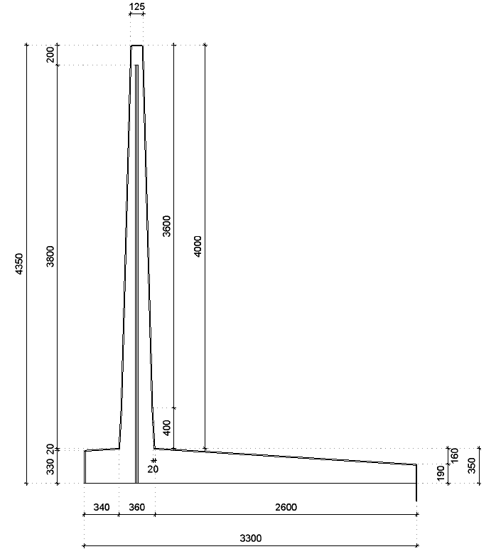
Teknisk tegning
LA-støttemure (Agrarisk) - LA400V
LA-støttemurene er udviklet specielt til anvendelser i landbruget såsom plansiloer, biogassiloer, gyllebeholdere m.m. LA-støttemurene er altid forsynet med hæl, hvilket giver maksimal stabilitet og sikkerhed. LA-støttemurene...
Læs mere
- Hurtigt til:
- Beskrivelse
- Specifikationer
- Muligheder Anmod om tilbud
Beskrivelse
LA-støttemurene er udviklet specielt til anvendelser i landbruget såsom plansiloer, biogassiloer, gyllebeholdere m.m. LA-støttemurene er altid forsynet med hæl, hvilket giver maksimal stabilitet og sikkerhed. LA-støttemurene er unikke, idet de fuldt ud kan optage de svære tryk- og stødbelastninger, der opstår, når der køres i ensilagestakken med tunge traktorer og gummigeder. LA-støttemurene fås i tre udgaver: LA-S-støttemure til et maksimalt akseltryk på 10 ton, LA-G-støttemure til et maksimalt akseltryk på 15 ton og LA-V-støttemure til et maksimalt akseltryk på 20 ton.
* Fodsiden er indersiden samt den lastbærende side og kan fyldes helt til randen med ensilage ved hjælp af tunge traktorer eller gummigeder.
* Indersiden har en samlet nettohøjde.
* Foden kan integreres i silogulvet – herved går der ingen stakhøjde tabt, og oplagringskapaciteten er nem at beregne.
* LA-støttemurene har en let konisk form såvel i den lodrette murdel som i foddelen, hvilket sikrer den rigtige hældning.
* Desuden er de alle udstyret med en ekstra høj kofanger som beskyttelse mod ensilagesaft og skader under tømning af siloen.
* De afrundede hjørner sikrer, at ensilagefolien ikke glider eller bliver beskadiget.
* På LA-støttemurenes yderside kan der efter montagen eventuelt eftermonteres båndstrammere til ekstra opstramning og fastgøring af ensilagefolien.
Til opførelse af en komplet silo tilbyder vi også forskelligt tilbehør såsom ensilagesaftbeholdere, Bosch betonrender og betonplader.
* Fodsiden er indersiden samt den lastbærende side og kan fyldes helt til randen med ensilage ved hjælp af tunge traktorer eller gummigeder.
* Indersiden har en samlet nettohøjde.
* Foden kan integreres i silogulvet – herved går der ingen stakhøjde tabt, og oplagringskapaciteten er nem at beregne.
* LA-støttemurene har en let konisk form såvel i den lodrette murdel som i foddelen, hvilket sikrer den rigtige hældning.
* Desuden er de alle udstyret med en ekstra høj kofanger som beskyttelse mod ensilagesaft og skader under tømning af siloen.
* De afrundede hjørner sikrer, at ensilagefolien ikke glider eller bliver beskadiget.
* På LA-støttemurenes yderside kan der efter montagen eventuelt eftermonteres båndstrammere til ekstra opstramning og fastgøring af ensilagefolien.
Til opførelse af en komplet silo tilbyder vi også forskelligt tilbehør såsom ensilagesaftbeholdere, Bosch betonrender og betonplader.
Downloads
- LA400V_DK.pdf
- LA400V.ifc
- LA400V.dwg
- LA_Belastningsplan_DK.pdf
- Certifikater
- KOMO_attest-met-productcertificaat_Agrarische betonproducten 17-05-2019_K23856-12.pdf
- NL_BSB_productcertificaat_vooraf-vervaardigde-betonproducten_17-05-2019_K85568-03.pdf
- CPR_conformiteitscertificaat-van-de-productiecontrole-in-de-fabriek_17-05-2019_CPR-56074-05.pdf
- CSC-certificaat Goud 141-CSC19-2019.pdf
- Übereinstimmungszertifikat Stahlbetonfertigteile als Teil von Fahrsilos 1329.1.2146-2.pdf
- Zertifikat über die Konformität der werkseigenen Produktionskontrolle (CE) 0793-CPR-1329.6.967-1.pdf
- Zertifikat über die verwendbarkeit in Bauwerken 1329.7.119-1.pdf
- Gütezeichen-Urkunde 1329-M-2020.pdf
- Übereinstimmungszertifikat Beton nach Eigenschaften 1329.1.2040.-1.pdf
- KOMO_productcertificaat_bouwelemten-van-beton_10-7-2023_K2663-12.pdf
Specifikationer
| Betonblanding | 2nd Generation self-compacting C60/75 | Armering af stål | B500 |
|---|---|---|---|
| Vægt | 10910kg (L = 2495mm) | Betondækning | 30mm |
| Dimensionel tolerance | +/- 5mm | Synlig betonklasse | Alle synlighed sider klasse A |
| Hejseanordning | ingen, steder med klemme | Produktgaranti | 20 år |
| Miljøklasse | XA3, XC4, XD3, XS3, XF1 | Design liv | 50 år (XA3, XD3, XS3) / 100 år (XC4, XF1) |
Ekstra muligheder
Afkortning og øvrige tilpasninger
Tilslutning til skillevæg
Tilslutning til U-mur
Afløbsrende
Affasning
Standardhjørneløsning
Standardhjørneløsning
Til alle vores støttemurstyper fås en 90-graders standardhjørneløsning. Til hjørner med andre vinkler kan der fremstilles en individuelt tilpasset hjørneløsning.
Send os en skitse over din situation – så indtegner vi en hjørneløsning til dig! På den måde er du sikker på at få den helt rigtige specialløsning.
Send os en skitse over din situation – så indtegner vi en hjørneløsning til dig! På den måde er du sikker på at få den helt rigtige specialløsning.
-
Vi vil gerne arbejde på en bæredygtig måde, også når det gælder specialdesignede løsninger. Informer os derfor i god tid, så vi på forhånd kan tage højde for dine tilpasninger under produktionen. Herved undgår vi unødigt materialespild og efterfølgende savearbejde.
-
Skulle der opstå uundgåeligt affald i forbindelse med en murtilpasning, genbruger vi betonaffaldet i vores produktionsproces.
Afkortning og øvrige tilpasninger
Hvis det ønskes, kan støttemurene afkortes, forsynes med specialudsparinger eller tilpasses. Vores støttemure kan f.eks. forsynes med indstøbte specialelementer såsom hylser, løfteankre eller dorne (udragende armeringsjern til brug ved samling af tilstødende betonelementer). Støttemurene kan også forsynes med en tykkere topkant, som muliggør montage oven på støttemuren, eller med et særligt relief.
Send os en skitse over din situation – så indtegner vi en tilpasset løsning til dig! På den måde er du sikker på at få den helt rigtige specialløsning.
Send os en skitse over din situation – så indtegner vi en tilpasset løsning til dig! På den måde er du sikker på at få den helt rigtige specialløsning.
-
Vi vil gerne arbejde på en bæredygtig måde, også når det gælder specialdesignede løsninger. Informer os derfor i god tid, så vi på forhånd kan tage højde for dine tilpasninger under produktionen. Herved undgår vi unødigt materialespild og efterfølgende savearbejde.
-
Skulle der opstå uundgåeligt affald i forbindelse med en murtilpasning, genbruger vi betonaffaldet i vores produktionsproces.
Tilslutning til skillevæg
Skillevægge kan kombineres med andre støttemurstyper, f.eks. til lagringssystemer eller plansiloer, hvor der ikke må sive væske ud. Her er det vigtigt, at skillevæggen har den rigtige form på samlingsstedet, så der kan opnås en perfekt samling med den anden mur.
Send os en skitse over din situation – så indtegner vi en hjørneløsning til dig! På den måde er du sikker på at få den helt rigtige specialløsning.
Send os en skitse over din situation – så indtegner vi en hjørneløsning til dig! På den måde er du sikker på at få den helt rigtige specialløsning.
-
Vi vil gerne arbejde på en bæredygtig måde, også når det gælder specialdesignede løsninger. Informer os derfor i god tid, så vi på forhånd kan tage højde for dine tilpasninger under produktionen. Herved undgår vi unødigt materialespild og efterfølgende savearbejde.
-
Skulle der opstå uundgåeligt affald i forbindelse med en murtilpasning, genbruger vi betonaffaldet i vores produktionsproces.
Tilslutning til U-mur
U-mure kan kombineres med andre støttemurstyper, f.eks. til lagringssystemer eller plansiloer, hvor der ikke må sive væske ud. Her er det vigtigt, at U-muren har den rigtige form på samlingsstedet, så der kan opnås en perfekt samling med den anden mur.
Send os en skitse over din situation – så indtegner vi en affasningsløsning til dig! På den måde er du sikker på at få den helt rigtige specialløsning.
Send os en skitse over din situation – så indtegner vi en affasningsløsning til dig! På den måde er du sikker på at få den helt rigtige specialløsning.
-
Vi vil gerne arbejde på en bæredygtig måde, også når det gælder specialdesignede løsninger. Informer os derfor i god tid, så vi på forhånd kan tage højde for dine tilpasninger under produktionen. Herved undgår vi unødigt materialespild og efterfølgende savearbejde.
-
Skulle der opstå uundgåeligt affald i forbindelse med en murtilpasning, genbruger vi betonaffaldet i vores produktionsproces.
Afløbsrende
Hvis det ønskes, kan støttemurene afkortes, forsynes med specialudsparinger eller tilpasses. Vores støttemure kan f.eks. forsynes med indstøbte specialelementer såsom hylser, løfteankre eller dorne (udragende armeringsjern til brug ved samling af tilstødende betonelementer).
Støttemurene kan også forsynes med en tykkere topkant, som muliggør montage oven på støttemuren, eller med et særligt relief.
Send os en skitse over din situation – så indtegner vi en afløbsrende til dig! På den måde er du sikker på at få den helt rigtige specialløsning.
Støttemurene kan også forsynes med en tykkere topkant, som muliggør montage oven på støttemuren, eller med et særligt relief.
Send os en skitse over din situation – så indtegner vi en afløbsrende til dig! På den måde er du sikker på at få den helt rigtige specialløsning.
-
Vi vil gerne arbejde på en bæredygtig måde, også når det gælder specialdesignede løsninger. Informer os derfor i god tid, så vi på forhånd kan tage højde for dine tilpasninger under produktionen. Herved undgår vi unødigt materialespild og efterfølgende savearbejde.
-
Skulle der opstå uundgåeligt affald i forbindelse med en murtilpasning, genbruger vi betonaffaldet i vores produktionsproces.
Affasning
Alle vores støttemurstyper fås med en affasning, der som standard er skåret fra halvdelen af højden til halvdelen af længden. F.eks. til lagringssystemer eller plansiloer, hvor den sidste støttemur affases for at give et bedre overblik.
Send os en skitse over din situation – så indtegner vi en affasningsløsning til dig! På den måde er du sikker på at få den helt rigtige specialløsning.
Send os en skitse over din situation – så indtegner vi en affasningsløsning til dig! På den måde er du sikker på at få den helt rigtige specialløsning.
-
Vi vil gerne arbejde på en bæredygtig måde, også når det gælder specialdesignede løsninger. Informer os derfor i god tid, så vi på forhånd kan tage højde for dine tilpasninger under produktionen. Herved undgår vi unødigt materialespild og efterfølgende savearbejde.
-
Skulle der opstå uundgåeligt affald i forbindelse med en murtilpasning, genbruger vi betonaffaldet i vores produktionsproces.